+7 (727) 357-30-42
Вход в личный кабинет

Micro Drive FC 51 VLT®

В наличии : достаточно
VLT® Micro Drive FC51 – серия универсальных частотных преобразователей, управляющих электродвигателями мощностью до 22 кВт включительно .
договорная цена
Уточнить стоимость
Преобразователи частоты FC 51 благодаря непревзойденной надежности отлично подходят для большинства простых применений: промышленные установки, системы водоснабжения, вентиляции и кондиционирования воздуха (HVAC). Преобразователи частоты Micro Drive обладают всеми типовыми особенностями и преимуществами приводов семейства VLT®. Ниже Вы найдете подробные техописания (инструкция, техническое описание, документация, руководство пользователя, настройки, программирование, ввод в эксплуатацию, наладка, manual (мануал), паспорт, проектирование, чертежи).
Мы всегда готовы предложить Вам профессиональную консультацию!

Диапазон мощностей
1 х 200 - 240 В.............................................0,18 - 2,2 кВт
3 х 380 - 480 В.............................................0,37 - 22  кВт

Таблица 1. Информация для заказа
  200-240 В 380-480 В  
Мощность, кВт Номин. ток, А Код Данфосс Номин. ток, А Код Данфосс Типоразмер
0,18 1,2 132F0001     M1
0,37 2,2 132F0002 1,2 132F0017
0,75 4,2 132F0003 2,2 132F0018
1,5 6,8 132F0005 3,7 132F0020 M2
2,2 9,6 132F0007 5,3 132F0022 M2 (1-ф - M3)
3,0     7,2 132F0024 M3
4,0     9,0 132F0026
5,5     12,0 132F0028
7,5     15,5 132F0030
11,0     23,0 132F0058 М4
15,0     31,0 132F0059
18,5     37,0 132F0060 М5
 22,0     43,0 132F0061

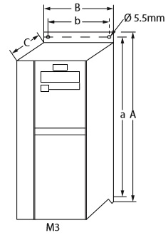
  Таблица 2. Габаритные размеры / вес 
Типоразмер Высота, мм Ширина, мм Глубина *,мм Масса, кг              
A a B b C
М1 150 140,4 70 55 148 1,1
М2 176 166,4 75 59 168 1,6
М3 239 226 90 69 194 3,0
М4 292 272,4 125 97 241 6,0
 М5 335 315 165  140 248 9,5
* Для LCP 12  (132B0101 - с потенциометром) добавьте еще 7,6 мм.
Бренд
Danfoss
Тип
Частотный преобразователь
Серия
VLT® Micro Drive FC 51
Страна происхождения
Китай
Страна бренда
Дания
Для применений
бюджетные
Панель управления LCP
Приобретается отдельно
Перегрузочная способность (1 мин), %
150
Степень защиты
IP 20
Бренды
4
Документы
342
Документы
341
Документы
340
Документы
7091
Документы
339
Документы
7258
Документы
344
Дополнительные фото
337
Дополнительные фото
338
Дополнительные фото
345
Аксессуары
283
Аксессуары
282
Аксессуары
284
Аксессуары
289
Аксессуары
285
Аксессуары
288
Аксессуары
286
Аксессуары
287
Аксессуары
307
Превью фото
7871
Модификации
279
Модификации
293
Модификации
294
Модификации
311
Решения
5348
Статьи
5063
Похожие товары
279
Похожие товары
4403
Похожие товары
293
Похожие товары
294
Похожие товары
5317
Похожие товары
5319
Похожие товары
4401
Похожие товары
4489
Похожие товары
2111
Похожие товары
502
Похожие товары
190
Показывать кол-во текстом
да
Услуги Услуг нет



Имя файла Описание Инфо
broshyura-vlt-micro-v.pdf Брошюра VLT Micro Drive 911.2 kB
kratkoe-rukovodstvo-privod-vlt®-micro-drive.pdf Краткое руководство. Привод VLT® Micro Drive 2.8 МВ
vvod-v-ekspluatatsiyu-preobrazovatelya-chastoty-vlt-micro-drive-fc-51.pdf Быстрый ввод в эксплуатацию преобразователя частоты VLT® Micro FC 51 961.5 kB
rukovodstvo-po-proektirovaniyu-vlt®-micro-drive-fc51.pdf Руководство по проектированию VLT® Micro Drive FC-51 8.0 МВ
rukovodstvo-po-programmirovaniyu-vlt-micro-drive-fc51.pdf Руководство по программированию VLT® Micro Drive FC51 3.4 МВ
privody-fc-51-serii-VLT®- vlt-micro-drive-instruktsiya-po-ekspluatatsii.pdf ЧРП FC51 VLT® Micro: Инструкция по эксплуатации 2.2 МВ
VLT-Micro-Drive-FC51-drawings.zip Чертежи (dxf) 25.8 МВ






Рейтинг *
Имя *
Плюсы / Минусы
+
-
Комментарий *
Email для ответов
Отправить
Ваш e-mail:
Вопрос:
Пожалуйста нарисуйте изображение на рисунке одним движением (Сменить рисунок)
0Сравнение
Каталог
Кабинет
0 Корзина
Меню